Please help! 02' 1.5 12v head installation
im replacing my cylinder head with a rebuilt head ive purchased and while going to install it it wouldnt mount. reason being is on the cylinder block there are two "studs" that i assume guide the head on and off. one at the top right hand side " while facing front of engine. and another at bottom left side.they are small cylindrical hollow studs that have threads in the bottom for srewing down the c. head. MY issue is the same studs are located on my new cylinder head in the same spot thus making it so the head wont mount the studs on the head and block make contact and sit on one another.. i have tried to remove them and they do not come out it seems on either. would it be ok to drill them out on on the head or block. no fluids run thru it and the head gasket seems to keep it sealed off to it self., what are your thoughts machine shop, drill em my self . or is there a way to remove them..
2002 accent 1.5 12v
2002 accent 1.5 12v
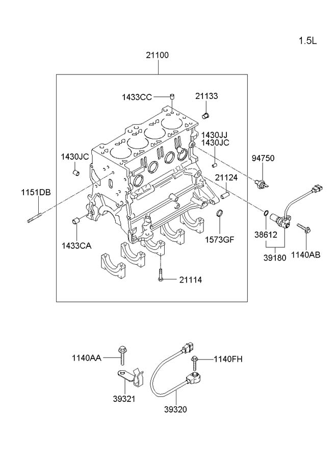
this is the only pic i can find online but nothing as to how to remove it with out damaging the block or head "1433cc" it is refered to as a "bush" if that helps at all..
Last edited by zainecurtis; Apr 17, 2013 at 01:54 AM. Reason: addition
they are refered to as dowels or bush's. how i removed them was get a propane torch and a small drill bit removing them out of the head. kept head gasket on and drilled parralell to the gasket surface through the dowels side. in thru the other side. leaving a hole i can leave a drill bit in or nail. what ever. heat the inside of the dowel with torch. " would be better if you have an acetaline torch in witch case heat around the dowel." either way get it as hot as posible. and not required but using a can of duster after heated blow liquid from the can" holding upside down" into the dowel to cool only it. then get a long rod and stick it thru the head against the drill bit youve inserted and hammer the crap out of it . dowel will come out after a few repeats.. " the hotter the block the easier." also if having issues get a pipe wrench and spin the dowel continue until it is spining with little resistance. then heat and bang. hope this helps some one else
The dowels normally protrude above the block and can be held and turned with a waterpump plier. Spray a bit of penetrating oil on it and then remove.
Be carefull of heat as the dowel wil also heat -up. The dowels are normally split bushes and the use of a chisel to remove it will also help.
Regards
Be carefull of heat as the dowel wil also heat -up. The dowels are normally split bushes and the use of a chisel to remove it will also help.
Regards
Thread
Thread Starter
Forum
Replies
Last Post
DeeNuttyDJ
Hyundai Matrix
1
Feb 26, 2014 10:19 AM
alkemyst
Hyundai Accent
0
Jan 15, 2011 01:51 PM




